ГлавнаяНовостиГородБизнесОбществоРаботаНедвижимостьАвтоАфишаОтдыхОбщение
Поиск на портале...

Женский жакет


 

Жакет-кимоно с ластовицей

Жакет-кимоно строится на основе базовой конструкции жакета и рукава-полуреглана . Наличие ластовицы позволяет построить рукав цельнокроенным с полочкой и спинкой.

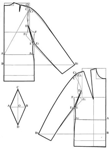
Построение спинки

АВ = 8 см.

На базовой конструкции спинки жакета проведем горизонталь через точку В.

Приложим к пройме окат задней части рукава таким образом, чтобы нижний конец линии верхнего шва В 1 лежал на горизонтали через точку В.

СС 1 - 1,2 см (прибавка для придания линии плеча мягкой формы).

Точка D находится в том месте, где линия оката рукава и линия проймы расходятся в разные стороны.

CD = 16 см.

Точка Е находится на пересечении линий бокового шва спинки и нижнего шва рукава. Проведем отрезок DE.

DE = DE1.

ЕЕ 1 = 1,2 см

Проведем линию разреза под ластовицу по точкам Е D E1 и линию нижнего шва через точку Е1.

СС 2 = 1см.

Проведем линии плеча и верхнего шва рукава через точку С 2 .

Построение полочки

АВ = 13 см.

На базовой конструкции полочки проведем горизонталь через точку В.

Приложим к пройме окат передней части рукава таким образом, чтобы нижний конец линии верхнего шва В 1 лежал на горизонтали через точку В. СС1 = 1 см. При построении полочки рукав нахлестывается на полочку, а его вершина поднимается на 0,5-0,7 см над плечевой точкой.

ЕА 1 = ЕА1 с чертежа спинки. DE = DE с чертежа спинки = 16 см. Точка D лежит на линии проймы полочки.

DE1 =DE. EE1 = 1,2 см. Проведем линию разреза под ластовицу по точкам Е D E1 и линию нижнего шва рукава через точку Е1. С1С2=1см.

Проведем линии плеча и верхнего шва рукава через точку С 2 . Примечания.

1. В полученной конструкции спинка и полочка цельнокроенны с рукавом за исключением выреза Е D E1 на спинке и на полочке жакета.

2. Плечевой шов спинки должен быть длиннее, чем на полочке, так как в области плеча выполняется посадка.

Построение ластовицы

Через точку А проводим две взаимно перпендикулярные прямые.

ОА = ОВ = 6 см (это приблизительная величина расстояния между точками F и F1 на спинке и полочке жакета).

АС = ВС = AD = BD = DE с чертежа спинки и полочки.

(Пример: 16 см.).


Есть вопрос или комментарий?..


Ваше имя Электронная почта
Получать почтовые уведомления об ответах:

| Примечание. Сообщение появится на сайте после проверки модератором.


Вернуться в раздел Женский жакет

Соседние подразделы:
Юбки
Платья
Женские брюки
Нижнее белье
Блузки
Женский комбинезон
Женские куртки
Женское пальто
Верхняя одежда
Детали женской одежды
Общение на сайте
ГородНижний Новгород (в разговорной речи часто — Нижний) — город в России, административный центр Нижегородской области, центр и крупнейший город Приволжского федерального...
Открыть раздел Город
Работа
Открыть раздел Работа
The LineAct Platform